on September 13th

12V or 48V mains power supply delivers peaks of 800W

Recom RACM600-L acdc psu

Like the original, they are open-frame supplies with an aluminium U-channel chassis measuring ~100 x 200x 40mm, this time delivering up to 430W by convection cooling and using convection cooling, and 600W continuously if there is sufficient airflow.

Peak power from the original was (and remains) 600W, while the new ones can deliver up to 800W for 5s in still air (10s blown at 1.5m/s, see datasheet for details), making them “suitable for dynamic loads commonly found in modern systems”, said the company.


Operation is over 80 – 275Vac, and -20 to +70°C derated with airflow and input voltage.


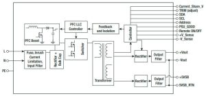
Recom RACM600-L psu block diag There is a 5V /500mA stand-by output, and controls include: remote on-off, remote sensing, PSU-good output and ±20% output trimming via a potentiometer or PMBus.

Units can be paralleled with active current sharing, and OR-ing diodes are included for redundant operation.

Efficiency peaks at around 93%.

“Certifications held include IEC/EN/UL 62368-1 for IT/multimedia and IEC/EN/ANSI/AAMI 60601-1, 2MOPP medical, with low leakage current for BF [body floating] patient-connect applications,” according to the company. “Class B EMC limits are met with a good margin, the operating altitude is up to 5,000m, or 3,000m medical, and the parts are rated OVCII [over-voltage category II].”

Find the RACM600-L product page here, from where there is a link to the data sheet

0 RFQ
Shopping cart (0 Items)
It is empty.
Compare List (0 Items)
It is empty.
Feedback

Your feedback is very important! On this website, we value user experience and strive for continuous improvement.
Please share your feedback with us through our feedback form, and we will respond promptly.
Thank you for choosing us.

Subject
E-mail
Comments
Captcha
Drag or click to upload file
Upload File
types: .xls, .xlsx, .doc, .docx, .jpg, .png and .pdf.
Max file size: 10MB